This section is from the book "Building Construction And Superintendence", by F. E. Kidder. Also available from Amazon: Building Construction And Superintendence.
64. The partitions in buildings of ordinary construction are usually built of 2X4-inch studding, spaced either 12 or 16 inches on centres, giving five or four railings to the lath respectively. For bearing partitions, and also where the stories exceed 9 feet 6 inches in height, the spacing should not exceed 12 inches, as 16-inch spacing does not give sufficient stiffness for first-class buildings. For partitions exceeding 11 feet in height 5 or 6-inch studding should be used. A partition built of 2x5-inch studding, spaced 16 inches on centres, is much stiffer than one built of 2X4-inch studding 12 inches on centres, although the latter contains the more lumber. A spacing of 16 inches, however, does not make as stiff a job of plastering, and for this reason a spacing of 12 inches is to be preferred in the better class of houses, no matter what the size of the studding may be. Five or 6-inch studding also gives much better accommodation for furnace pipes and soil pipes than the 4-inch studding.
In putting up the partitions it is important to build them so that there shall be as little settlement from shrinkage as possible. The ordinary method of building partitions, particularly in buildings not superintended by an architect, is that shown in Fig. 58, which shows the studding of a first story partition and the bottom of the second story partition. From an inspection of this figure it will be seen that there are 37 inches of horizontal wood between the top of the basement piers and the bottom of the second story studding, and, as ordinary spruce or white pine timber will shrink across the grain about \ inch per foot, it would probably be found at the end of one or two years that the second story partition had settled 1½ inches, and of course the third story or attic joists would settle with it. The shrinkage of timber endways is imperceptible. If the first and second floor joists were supported at the outer ends as shown in Fig. 20 there would be but 14 inches of horizontal timber between the foundation wall and the second floor joist, which allows of a shrinkage of only about \ inch, so that the inner ends of the second floor joists in a wooden building will be about ¾ inch lower than the outer ends when the timber has had time to shrink. In a brick building the difference in height between the outer and inner ends of the second floor joists will be still greater, as the settlement of brickwork in the height of one story is hardly noticeable. It is from this cause more than from any other that cracks in the plastering of dwellings are so common, and that the doors in partitions running parallel with the joists will not shut after a year or two. It is not always possible to overcome all settlement from shrinkage, but any considerable settlement can generally be avoided, and this is one of the points in which architects' houses should excel those of the speculative builder. If the girder supporting the first floor had been framed flush with the joists and the second story studding had been supported on the cap of the first story partition, as shown in Figs. 59 and 60, there would have been only about 15 inches of horizontal ■wood below the second floor, so that both ends of the joists would settle about the same. Hence in all cases where a partition in the second story comes over one below, the second story studding should rest on the cap of the lower partition, and the lower studding should rest directly on the girder, if there is one. If the partitions run the same way as the floor joists they should be constructed as shown in Fig. 60, the floor joists next the partition being kept away 2 inches to afford nailings for the upper floor boards.
Fig. 58.
When the partition does not come over a girder or over a partition it is obvious that it must be supported in some way by the floor timbers. When the partition runs parallel with the joists it is often supported by placing a double joist in the floor directly under the partition. This method is objectionable, however, for two reasons:
Fig. 59.
(a) If the beam is not at least 3 inches wider than the partition it does not give a nailing for the ends of the upper floor boards; and
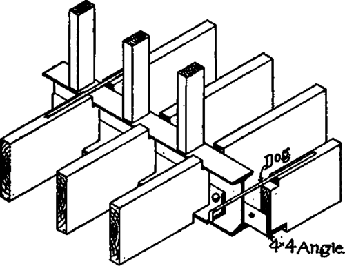
(b) if there are any pipes to run up in the partition, as is often the case in first story partitions, the beam must be badly cut into to let them by. For these reasons it is better to use two joists spaced about 6 inches apart and bridged every 16 or 18 inches with plank bridging, as shown in Fig. 61, the grain of the bridging always being horizontal. This gives a good nailing for the floor boards and permits of hot air pipes being carried up in the partition without cutting any
The two joists which support the partition should each be at least
3 inches thick, and in some cases it may be necessary to make them
4 inches thick, as any bending of the joists will cause the partition to settle by a corresponding amount; and if the partition bearing joists bend more than the other floor joists it will produce a bad appearance in the ceiling.
Fig.60.
Wherever a partition rests on top of the beams or flooring it will, of course, settle by an amount equal to the shrinkage of the joists, and in brick buildings this is often sufficient to cause a crack to appear at the angle formed by the partition and outside wall.
In first-class brick dwellings, therefore, the only sure provision against cracks is to support all partitions either on steel beams or in the manner shown in Fig. 62, when they cannot be supported on partition caps. Steel beams undoubtedly make the best support, but where they cannot be used, either on account of the cost or the necessity of placing pipes in the partition, the effect of shrinkage may be overcome by screwing iron plates 4 inches wide and 3/8 or ½ inch thick to the bottom of the joists by 4-inch lag screws (as shown in Fig. 62) for the studding to rest on.
If the joists are then made of ample strength there can be no settlement in the partitions, and consequently no cracks in the plaster from that cause. When the partitions are supported in this way the ceilings should be furred with 1-inch strips for lathing.

When steel beams are used they should be at least 1 inch less in depth than the wooden beam to allow for shrinkage in the latter.
When the partition runs crossways of the joists it is generally supported simply by a sole piece laid across the joists or on top of the under floor, as in Fig. 58, and in such case the joists must be stiff enough to support the concentrated weight from the partition. It should be remembered that the weight of a partition running cross-ways of the joists and near the middle of the span has twice the destructive effect that a distributed load would have, and no relief can in this case be gained by bridging. If there should be wide openings in such a partition, the floor joists under the studding at the side of the openings should be increased in proportion to the weight coming upon them. This is an important point in construction and one often overlooked.

Fig. 6a.
66. The effect of the shrinkage of the joists on a partition supported in this way is, of course, the same as in the case above mentioned, and it can be avoided in the same way. If a steel beam is used to support the partition, however, it will be necessary to frame the joists into it, either as shown in Fig. 63 or Fig. 54.
In first-class brick dwellings all first story partitions should be supported either by steel beams or brick walls. If the first story partition supports another in the second story, the beam must, of course, have sufficient strength and stiffness to support all the partitions above it without undue deflection.
It is also desirable, in brick buildings at least, to support the partitions and floor joists around stairways with steel beams, as shown in Fig. 64.
When the partition is continuous with one below, as is most generally the case, the studs should be halved over the beam, to the partition head below, so as to give a nailing for the laths and to prevent cracks in the plastering.

Fig. 63.
It sometimes seems necessary to support part of a second story partition on a partition cap and part on the floor joist, but this can generally be avoided by using the plates shown in Fig. 62.
 
Continue to: